一、M85049/88系列线夹型号:
M85049/88-13W02
M85049/88-17W02
M85049/88-21W02
M85049/88-23W02
M85049/88-25W02
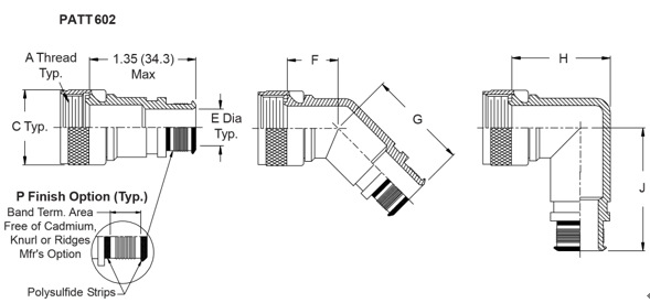
二、结构图

三、参数
外壳尺寸 | 线程类2b | C Dia Max | E Dia | E Dia | F 最大 | G 最大 | H 最大 | J最大 |
电缆入口尺寸02 | 电缆入口尺寸03 | |||||||
±.010 (.3) | ±.010 (.3) | |||||||
8 | .500 - 20 UNF | .88 (22.4) | N/A | .250 (6.4) | .87 (22.1) | 1.16 (29.5) | 1.188 (30.2) | 1.417 (36.0) |
10 | .625 - 24 UNEF | 1.01 (25.7) | N/A | .312 (7.9) | .89 (22.6) | 1.18 (30.0) | 1.281 (32.5) | 1.480 (37.6) |
12 | .750 - 20 UNEF | 1.13 (28.7) | .312 (7.9) | .438 (11.1) | .92 (23.4) | 1.20 (30.5) | 1.406 (35.7) | 1.542 (39.2) |
14 | .875 - 20 UNEF | 1.26 (32.0) | .438 (11.1) | .562 (14.3) | .94 (23.9) | 1.22 (31.0) | 1.531 (38.9) | 1.605 (40.8) |
16 | 1.000 - 20 UNEF | 1.38 (35.1) | .500 (12.7) | .625 (15.9) | .96 (24.4) | 1.25 (31.8) | 1.656 (42.1) | 1.667 (42.3) |
18 | 1.062 - 18 UNEF | 1.51 (38.4) | .625 (15.9) | .750 (19.1) | .98 (24.9) | 1.26 (32.0) | 1.718 (43.6) | 1.730 (43.9) |
20 | 1.188 - 18 UNEF | 1.63 (41.4) | .625 (15.9) | .812 (20.6) | 1.00 (25.4) | 1.29 (32.8) | 1.844 (46.8) | 1.792 (45.5) |
22 | 1.313 - 18 UNEF | 1.76 (44.7) | .688 (17.5) | .938 (23.8) | 1.03 (26.2) | 1.31 (33.3) | 1.938 (49.2) | 1.850 (47.0) |
24 | 1.438 - 18 UNEF | 1.88 (47.8) | .750 (19.1) | 1.000 (25.4) | 1.05 (26.7) | 1.34 (34.0) | 2.093 (53.2) | 1.917 (48.7) |
28 | 1.750 - 18 UNS | 2.13 (54.1) | .875 (22.2) | 1.125 (28.6) | 1.10 (27.9) | 1.38 (35.1) | 2.531 (64.3) | 2.042 (51.9) |
备注:生产商为Glenair