
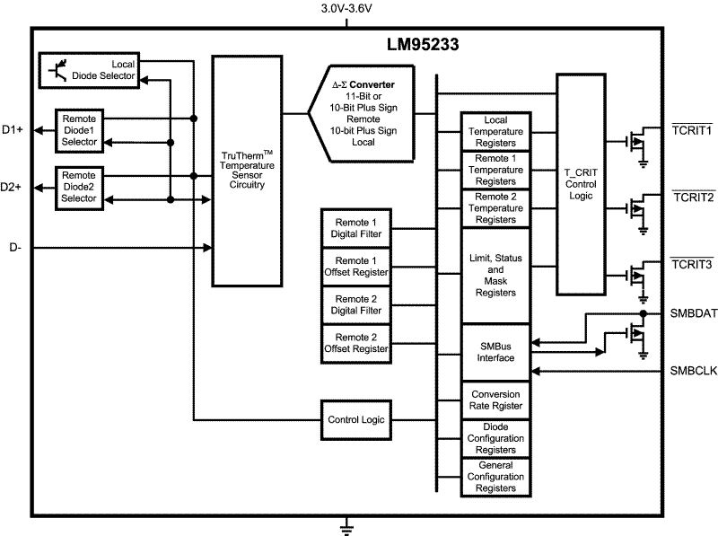
LM95233 是一款 11 位数字温度传感器,具有 2 线系统管理总线 (SMBus) 接口,可监控两个远程二极管的温度以及自身温度。LM95233 可用于非常准确地监控多达两个外部设备的温度,例如微处理器、图形处理器或二极管连接的 2N3904。LM95233 的 TruTherm BJT beta 补偿技术允许准确感应 90nm 或 65nm 工艺热二极管。
LM95233 以两种不同的格式报告 +127.875°C/–128°C 范围和 0°C/255°C 范围的温度。LM95233 TCRIT1、TCRIT2和 TCRIT3输出在任何未屏蔽通道超过其相应的可编程限制时触发,可用于关闭系统、打开系统风扇或作为微控制器中断功能。TCRIT1、TCRIT2和TCRIT3引脚的当前状态 可以从状态寄存器中读回。屏蔽寄存器可用于进一步控制 TCRIT输出。LM95233 的远程温度通道具有可编程数字滤波器,以最大限度地减少不需要的TCRIT 遇到温度峰值时的事件。
为了获得最佳的灵活性和准确性,每个 LM95233 通道都包括用于亚微米工艺或 2N3904 二极管模型选择以及偏移校正的寄存器。一个三级地址引脚允许将多达 3 个 LM95233 连接到同一个 SMBus 主机。LM95233 包括省电功能,例如:可编程转换率、关断模式和关闭未使用的通道。
准确感应 2 个远程 IC 或二极管结的管芯温度和本地温度
TruTherm BJT Beta 补偿技术可准确感应亚微米工艺热二极管
0.125°C LSb 温度分辨率
0.03125°C LSb 远程温度分辨率,启用数字滤波器
+127.875°C/–128°C 和 0°C/255°C 远程范围
可编程数字滤波器和模拟前端滤波器
远程二极管故障检测、模型选择和偏移校正
掩码和状态寄存器支持
3 个具有可编程共享迟滞的可编程TCRIT输出
可编程转换率和关断模式一次性转换控制
SMBus 2.0 兼容接口,支持超时
三级地址引脚
14 引脚 WSON 封装
主要规格
本地温度精度:±2.0 °C(最大值)
远程二极管温度精度:±0.875 °C(最大值)
电源电压:3.0 至 3.6V
平均电源电流(1Hz 转换率):0.57 mA(典型值)