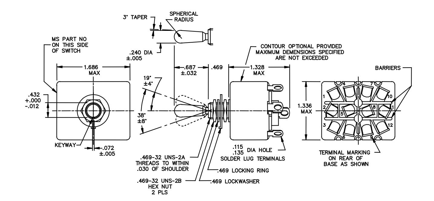
MS14003
Switch, Toggle, Positive Break, Environmentally Sealed, Solder Lug, Four Pole, .469 Mounting Bushing, 25 Amperes
开关,拨动,肯定断开,环境密封,接线片,四极,0.469安装衬套,25安培
5930-01-202-2103
LABINAL, LLC
X
©版权所有2008-2019 西安福川电子科技有限公司陕ICP备11012861号-4