
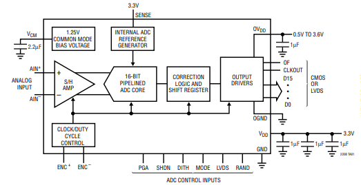
西安福川电子科技的ESCRIPTIOnLTC 2208是一个130Msps采样16位a /D转换器,设计用于数字化高频。宽动态范围信号,输入频率高达700MHz。利用PGA前端可以优化ADC的输入范围。LTC2208非常适合高要求的通信。应用程序。交流性能包括78dBFS噪声下限和100dB杂散自由动态范围(SFDR)。70fsgMs的超低抖动允许对高输入频率进行欠采样,并具有良好的噪声性能。最大直流规格包括±4LSB INL,±ILSB DNL(无丢失码)数字输出可以是差分LVDS或单端CMOS。
CMOS输出有两种格式选项:以全数据速率运行的单一总线或以半数据速率运行的多路复用总线。单独的输出电源允许CMOS输出摆幅在0.5V到3.6V之间。ENC+和ENC-输入可以差分驱动或单端驱动一个正弦波,PECL, LVDS, TTL或CMOS输入。一个可选的时钟占空比稳定器允许高性能在全速与广泛的时钟占空比.
特性采样率:130议员78年dbfs噪声地板100dB SFDR83dB在250MHz (1.5Vp。PGA前端(2.25Vp-p或1.5Vp-p输入范围)700MHz全功率带宽S/H可选的内部高频振动可选数据输出随机发生器VDS或CMOS输出单3.3 v供应功耗:1.25 w时钟占空比稳定器Pin兼容14位版本130Msps: LTC2208 (16 位), LTC2208-14 (14-位 64 针 (9 毫米 x 9 毫米) QFN 封装APPLICGTIOnS电信接收器蜂窝基站光谱分析成像系统.
OFA (Pin 60): A总线过/过流数字输出。当A总线上发生过流或过流时,OFA是高的。LVDS (Pin 61):数据输出模式选择引脚。连接LVDS到ovselectfull速率CMOS模式。LVDS与1/3Vpp的连接选择了多路复用CMOS模式。LVDS与2/3Vnn连接,选择低功耗LVDS模式。连接LVDS到Vpp选择标准LVDS模式。模式(Pin 62):输出格式和时钟占空比稳定器选择Pin。连接模式到OV选择偏移二进制输出格式和禁用时钟占空比稳定器。连接方式到1/3Vpn选择偏移二进制输出格式,启用时钟占空比稳定器。2/ 3vnn的onnecting模式选择2的补码输出格式,启用时钟占空比稳定器。连接Vpn模式选择2的补码输出格式,禁用时钟占空比稳定器。
RAND (Pin 63):数字输出随机选择Pin。RAND低导致正常运行。RAND high选择D1-D15与D0 (LSB)单独使用。输出可以通过在LSB和所有其他位之间再次应用异或操作进行解码。这种操作方式减少了数字输出干扰的影响。PGA (Pin 64):可编程增益放大器控制Pin。Low选择前端增益1,输入范围2.25Vp.p。High选择前端增益1.5,输入范围1.5 vp。暴露Pad: ADC电源接地。包装底部暴露的焊盘必须焊接到地面上。